中国水产科学研究院黑龙江水产研究所高磊等人完成的“一种固定体积液体取用器”获得国家实用新型专利授权,专利授权号:CN 210675245 U。
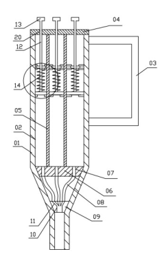
一种固定体积液体取用器,包括移液器枪体、把手、上盖、隔板、底板、连管、堵板、压杆、弹簧,所述移液器枪体下部连接枪头,移液器枪体具有枪体内腔,底板与枪体内腔相适应,底板连接枪体内腔,移液器枪体上部连接上盖,隔板与枪体内腔相适应,隔板插入枪体内腔,隔板下部连接底板,隔板上部连接上盖,两个隔板左右分布,底板上具有三个一号孔,堵板外侧与枪体内腔下部相适应,堵板插入枪体内腔下部,堵板具有二号孔,二号孔上部具有三个三号孔,连管上部连接一号孔,连管下部连接三号孔。
可解决实验中固定体积移去效率的问题。
