想附近过夜电话联系_qq叫小妹快餐_全国空降同城免费_附近月抛群

简体 繁体
今天是:


黑龙江水产研究所
您的当前位置: 网站首页 动态中心 科研动态 正文
科研动态

“一种水产养殖增氧设备”获得国家发明专利授权

日期:2022-06-07 09:48 作者:高磊 来源: 字体大小[  ]

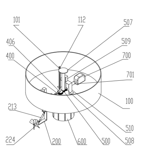
由水产品质量安全与标准研究室高磊等人发明的“一种水产养殖增氧设备”获国家发明专利授权,专利号:ZL.202011513622.6。

该发明专利适用于水产养殖领域,该设备针对现有增氧设备投资较大、管道布置麻烦,且一般为定点布置、覆盖面小、增氧效果相对较差等题设计,不仅增养效率高,且作业面积大、工作效率高。

该设备有望配合污染物快检装备以实现“增氧+快检”同时作业。


打印