想附近过夜电话联系_qq叫小妹快餐_全国空降同城免费_附近月抛群

简体 繁体
今天是:


黑龙江水产研究所
您的当前位置: 网站首页 动态中心 科研动态 正文
科研动态

“一种水产养殖饲料混合装置及操作方法”获国家发明专利授权

日期:2022-10-12 15:22 作者:霍堂斌 来源: 字体大小[  ]

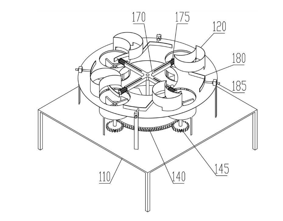
由渔业生态环境研究室霍堂斌等人完成的“一种水产养殖饲料混合装置及操作方法”获国家发明专利授权,授权专利号ZL202110867993.2。

在水产养殖过程中,需要对各种饲料进行混合,以满足不同阶段和不同品种水产品的营养需求,饲料混合过程中,需要对不同的饲料成分按比例进行混合,需要一种按照比例进行混合的装置。该装置包括工作台、料架、抛料架、中心轮、行星轮、抛轮、搅拌轮、十字架、调整架、方轴,针对现有技术存在的上述不足,提供一种高效、按比例混合的一种水产养殖饲料混合装置及操作方法。

打印