想附近过夜电话联系_qq叫小妹快餐_全国空降同城免费_附近月抛群

简体 繁体
今天是:


黑龙江水产研究所
您的当前位置: 网站首页 动态中心 科研动态 正文
科研动态

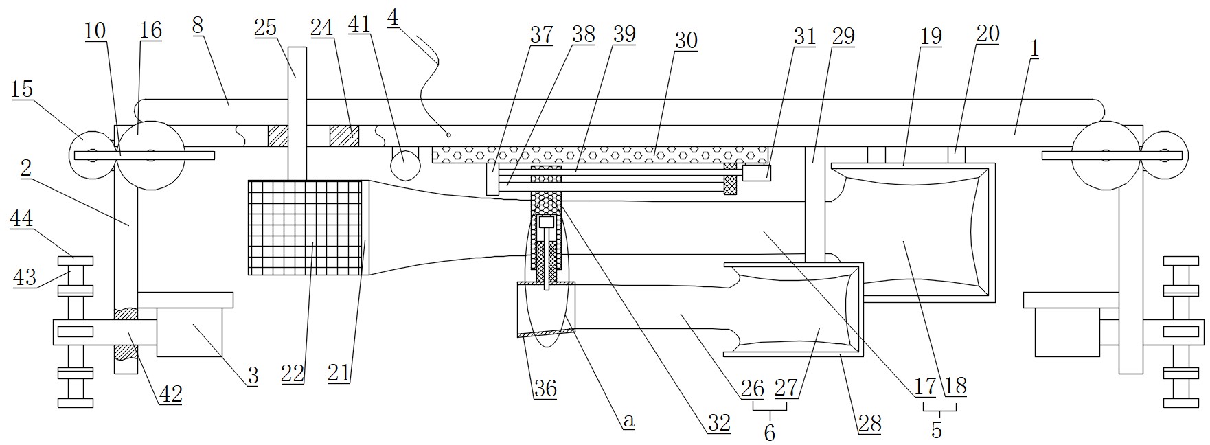
"一种河流自由移动型底栖动物定性采集装置"获国家发明专利授权

日期:2023-12-08 08:40 作者:张泽鹏 来源: 字体大小[  ]

由寒地水域渔业资源调查与评估创新团队张泽鹏等人完成的"一种河流自由移动型底栖动物定性采集装置"获国家发明专利授权,授权专利号:ZL202310090481.9。

本发明属于水生生物资源调查领域,公开了一种河流自由移动型底栖动物定性采集装置,由移动组件、收集组件、辅助组件组成,方便在河流中不同位置进行底栖动物的收集,主要针对游泳能力相对较强的大个体水生昆虫、虾蟹以及部分鱼类的仔稚鱼。使用该装置收集范围更加广泛,同时延长采样时间,且操作简单,无需船只。


打印